100噸高速液壓沖床平衡缸漏氣如何處理?
100噸高速液壓沖床平衡缸漏氣如何處理?
平衡氣缸用于平衡高速液壓沖床沖壓往復運動時的滑塊與模具的重量,并有消除或減少綜合間隙的作用,是高速液壓沖床核心組件之一。本文就100噸高速液壓沖床平衡杠漏氣故障作簡要介紹。

100噸高速液壓沖床
100噸高速液壓沖床的平衡缸一般都是上提式結構,即通入壓縮空氣后,活塞產生向上的托力,以此來平衡掉滑塊、連桿等運動部件在工作中產生的慣性力。

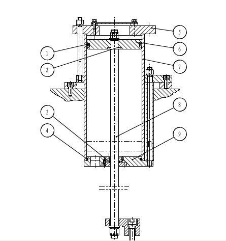
沖床平衡缸結構
其一般出現漏氣故障主要是:1、活塞桿拉毛或密封圈損壞漏氣;2、活塞/缸筒拉毛或密封圈損壞漏氣。發生的原因有:1、活塞上下運動時缺油潤滑造成拉毛;2、拉桿受力方向與缸筒不垂直造成;3、筒壁內有異物進入造成;3、密封圈安裝不到位,長期運動后造成損壞;4、壓縮空氣內的異物或水汽進入造成損壞;5、薄壁缸筒失圓較大與活塞間隙不規則造成損壞。修理時,需將活塞拉出,檢查是100噸高速液壓沖床零件損壞或密封圈損壞,進行更換就可以了。











